浙江省从2017年开始就已经不分文理,对理科生的优势还是蛮大的。
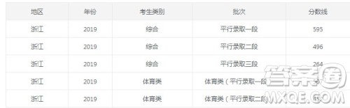
浙江历年高考批次分数线

从上图可以看出在浙江高考400分只能报考第三批次的院校,也就是专科或者三本院校,选择性可能不是很大。
浙江高考400可以报考的推荐学校
杭州的专科学院: 浙江树人大学 浙江水利水电专科学校 浙江医学高等专科学校 浙江公安高等专科学校 浙江交通职业技术学院 浙江经济职业技术学院 浙江经贸职业技术学院 浙江商业职业技术学院 浙江警官职业学院 浙江机电职业技术学院 浙江金融职业学院 浙江建设职业技术学院 浙江育英职业技术学院 浙江旅游职业学院 浙江艺术职业学院 浙江长征职业技术学院 杭州职业技术学院 杭州万向职业技术学院。。 其中浙江树人大学,浙江金融职业学院,浙江商业职业技术学院,浙江经济职业技术学院,浙江经贸职业技术学院可以专升本吧,其他的貌似不清楚了。 财经好的么,肯定是经济和经贸学院,树人大学也行。。 温州的专科:温州大学城市学院,温州大学瓯江学院,温州职业技术学院,浙江工贸职业技术学院,浙江东方职业技术学院
2020年高考430分能上的二本大学有哪些 2020高考430分能上哪些二本大学
2020-07-24 15:11:59
高考结束,小伙伴的分数也陆续公布了!那么430分可以上二本大学吗?可以上公办的二本大学吗?下面就由小编给大家一一解答吧!2020年高考430分能上的二本大学有哪些?今年由于疫情的影响
2020年高考分数压线怎么办 2020高考分数压线怎么填志愿
2020-07-24 14:56:55
2020年高考结束,分数也在陆续公布,但是有很多令人头疼的地方,很多伙伴都是高考分数压线,不上不下不知道志愿怎么填,这里小编整理了一些相关的志愿填报方法,大家可以参考一下2020高
2020河南高考文科561分可以上哪些大学 2020河南高考文科561分能上什么大学
2020-07-24 14:16:18
推荐一(挑战目标):武汉的 中南民族大学 一本比较强的专业:应用化学、民族学、生物技术、电子信息工程、汉语言文学录取分数线:在河南一本招生;录取分数:河南文科一本线+30分 录取把
2020年403分能上的本科大学有哪些 2020年高考403分能上本科大学吗
2020-07-24 14:01:36
403分对一些地区来是可能是个不起眼的分数,但是对于有些地区又是一个很不错的成绩,那么这个分数可以读的本科院校有哪些了?下面是小编整理的一些学校及录取分数,小伙伴可以参考